为电动摩托充电?本田也设想为摩托车配无人机,但用途含糊不清

【环球网无人机频道 记者 赵汗青】美国摩托车杂志《摩托车世界》(Cycle World)2月22日称,无人机正迅速成为现代生活中不可或缺的一部分,但你可能从未想过在你的摩托车上装一架。而本田的研发部门已经提交了一份安装在摩托车上的无人机的专利申请。
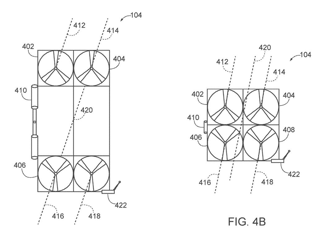
报道认为这显然是对非常遥远的未来的憧憬,而不是即将到来的东西。新的专利文件描述了一种四旋翼无人机,安装在摩托车尾部的一个壳中。它是一个完全自主的飞行器,可以根据命令释放,并在需要充电时自动返回到车上。
但关于这架无人机到底要发挥怎样的作用呢?本田自己也含糊不清,列出了大量可能的用途,却没有聚焦于单一的主要用途。
在无人机的潜在用途中,本田认为它可以用来为电动摩托车提供充满电的电池组,以解决电动车的续航里程问题,尽管目前还没有明确的机制来交换电池组。但该杂志认为,考虑到目前的技术,很难想象一架四旋翼既小到可以装在摩托车上,又大到可以携带足够驱动车辆的电池。

更现实的提议是,无人机可以作为交通监控系统的一部分来监视前方的道路,并将信息反馈给骑车人,以在问题出现在面前之前发出警告;无人机也被认为是一种通信中继设备,以扩展车载通讯系统的通讯距离,或者在发生意外时紧急报警求助;本田还说无人机也可能被纳入车辆的冷却系统,利用螺旋桨为散热器吸气。

报道认为,这种安装在摩托车上的无人机的主要创新之处似乎是一个可活动的螺旋桨系统,这使四旋翼可以紧凑到能装进摩托车,又可以在放飞时展开成更大、更稳定的无人机。另外值得注意的是,本田的专利清楚地显示,无人机是安装在一辆电动的运动型摩托车上。

报道还提到,这并非摩托车第一次与无人机结合在一起。2018年乌拉尔(Ural)就曾研制出一款内置大疆Spark四旋翼无人机的挎斗摩托车。这个设想是用无人机作为侦察机来查看骑手视线外的情况。与本田不同的是,乌拉尔展出的是一台完成了的机器,但其无人机并不是全自动的、而是需要人来操纵。
版权作品,未经环球网 huanqiu.com 书面授权,严禁转载,违者将被追究法律责任。